PRODUCT LIST

Your Position:Home - Products -
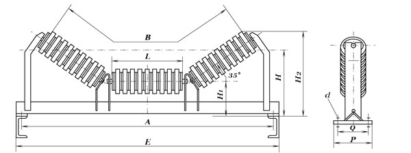
Carrier Troughing Impact Idler
↑Click the picture see larger image
Previous Product:Return Flat Idler
Next Product:Carrier Trough Idler


